انواع سقف
طاقضربی
تیرچه و بلوک
بتنی
کرمیت
دال تیرک
کامپوزیت
![]() |
![]() |
![]() |
![]() |
سقف طاقضربی
تیر+ شاهتیر + آجرفشاری
![]() |
![]() |
سقف تیرچه بلوک
- بتنی
- کرمیت
- تیرچه منفرد: کمتر از 8 متر
- تیرچه دوبل (مضاعف ) :بیشتر از 8 متر
![]() |
![]() |
![]() |
بتنی
| شرح آیتم | ابعاد | چگالی | وزن |
|---|---|---|---|
| موزائیک | 0.025 | 2250 | 56.25 |
| ملات ماسه سیمان | 0.02 | 2100 | 42 |
| پوکه معدنی | 0.05 | 600 | 30 |
| بتن آرمه + تیرچه | 0.07+ 0.01×0.02×\(\frac{1}{0.5}\) | 2500 | 275 |
| بوک سیمانی | 10 عدد | 14 | 140 |
| گچ و خاک | 0.02 | 1600 | 32 |
| گچ سفید | 0.01 | 1300 | 13 |
| مجموع | 588 |
- بلوکها را وزن هر دانه بلوک را حساب میکنیم.
سقف کرمیت
| شرح آیتم | ابعاد | چگالی | وزن |
|---|---|---|---|
| موزائیک | 0.02 | 2250 | 45 |
| ملات ماسه سیمان | 0.03 | 2100 | 63 |
| بتن پوکه معدنی | 0.08 | 1300 | 104 |
| بتن آرمه+خرپای تیرچه | 0.06+ 0.1×0.25×\(\frac{1}{0.75}\) | 2500 | 233 |
| بلوک پلیاستایرن | \(\frac{1}{0.75}\) | 5 | 6.6 |
| ملات گچ و خاک | 0.02 | 1600 | 32 |
| گچ سفید | 0.01 | 1300 | 13 |
| پای تیرچه | 0.01×0.02×\(\frac{1}{0.75}\) | 7850 | 20.9 |
| مجموع | 517.5 |
سقف کامپوزیت
پروفیل فولادی+ دال بتن آرمه
![]() |
![]() |
![]() |
جدول محاسبه سقف کامپوزیت
| شرح آیتم | ابعاد | چگالی | وزن |
|---|---|---|---|
| دال بتن آرمه | 0.08 | 2500 | 200 |
| تیرآهن IPE18 @90 | \(\frac{1}{0.9}\) | 18.8 | 20.8 |
| مجموع | 270.8 |
تسهیم بار دال
سیستم انتقال بار:
-
فلش
-
سیستم سقف
-
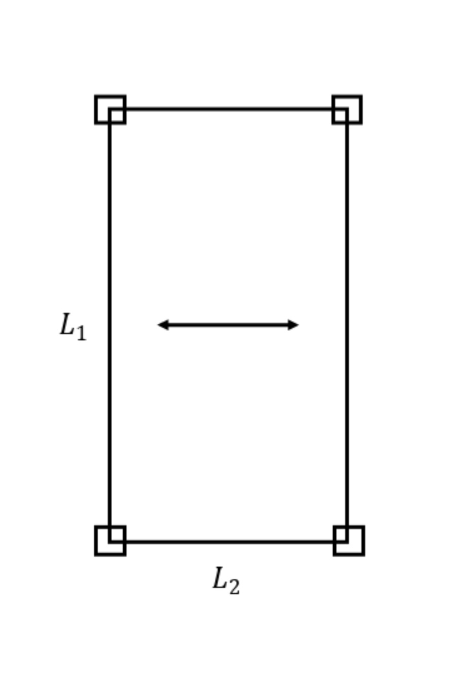
دهانه بلند \(L_1\)
-
دهانه کوتاه \(L_2\)
![]() |
![]() |
| دوطرفه | یکطرفه |
| \(1\leq \frac{L_1}{L_2} \leq2\) | \(\frac{L_1}{L_2} \gt2\) |
طول، عرض و سطح بارگیر
![]() |
![]() |
|---|---|
مثال:
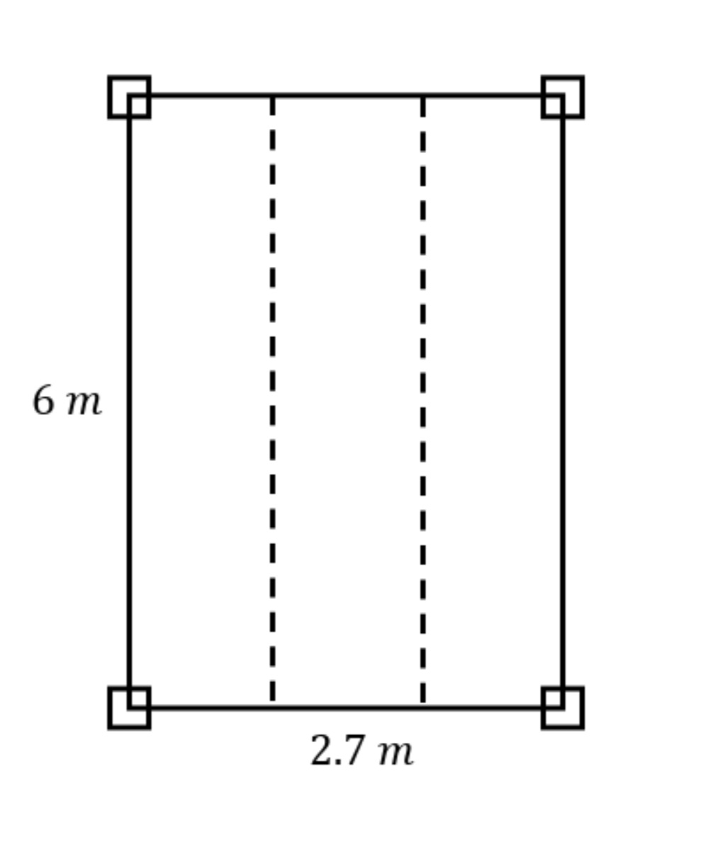
بار مرده سقف زیر از نوع دال بتنی را محاسبه کنید
| آیتم | مقدار |
|---|---|
| وزن | \(550 kg/m^2\) |

مثال:
بار مرده سقف زیر از نوع دال بتنی را محاسبه کنید
| آیتم | مقدار |
|---|---|
| وزن | \(550 kg/m^2\) |


| ابتدا | انتها | محاسبات |
| A | G | \(550×\frac{2}{2} = 550\) |
| B | H | \(550×\frac{2}{2} = 550\) |
| C | D | \(550×\frac{2}{2}+\frac{2.7}{2} 1295\) |
| E | F | $550×\frac{2}{2}+\frac{2.7}{2} = \(1295\) |
| A | F | 0 |
| B | G | 0 |
| C | H | 0 |
| D | C | 0 |
| E | D | 0 |
| F | E | 0 |
مثال:
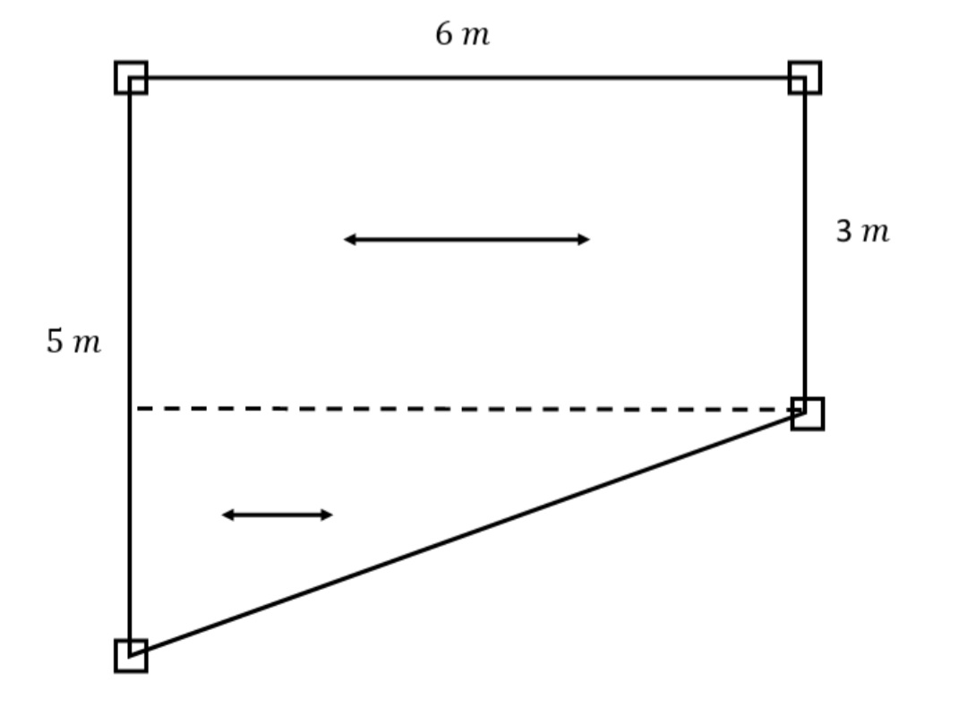
بار مرده سقف زیر از نوع طاقضربی است محاسبه کنید.
| آیتم | مقدار |
|---|---|
| وزن | \(500 kg/m^2\) |


| ابتدا | انتها | محاسبات |
| A | C | \(500×\frac{6}{2}= 1500\) |
| B | D | \(500×\frac{6}{2}= 1500\) |
| A | B | 0 |
| C | D | 0 |
مثال:
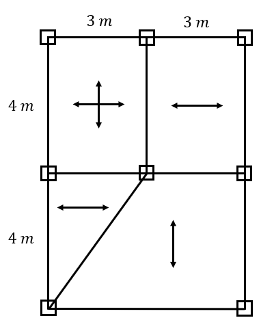
بار مرده سقف زیر از نوع تیرچه و بلوک را محاسبه کنید.
| آیتم | مقدار |
|---|---|
| وزن | \(480 kg/m^2\) |

مثال
بار مرده سقف زیر از نوع دال بتنی را محاسبه کنید.
| آیتم | مقدار |
|---|---|
| وزن | \(500 kg/m^2\) |
دال بتنی دوطرفهست، نیمساز گوشهها را بهم متصل میکنیم.



مثال
بار مرده سقف زیر از نوع دال بتنی را محاسبه کنید.
| آیتم | مقدار |
|---|---|
| وزن | \(500 kg/m^2\) |


مثال
بار مرده سقف زیر از نوع دال بتنی را محاسبه کنید.
| آیتم | مقدار |
|---|---|
| وزن | \(500 kg/m^2\) |




مثال
بار مرده سقف زیر از نوع دال بتنی را محاسبه کنید
| آیتم | مقدار |
|---|---|
| وزن | \(500 kg/m^2\) |




مثال
بار مرده وارد بر تیرهای زیر را محاسبه کنید.
| آیتم | مقدار |
|---|---|
| ارتفاع طبقه | \(3.2 m\) |
| وزن دیوار پیرامونی | \(300 kg/m^2\) |
| وزن | \(550 kg/m^2\) |










مثال
بار مرده وارد بر تیرهای زیر را محاسبه کنید.
| آیتم | مقدار |
|---|---|
| ارتفاع طبقه | \(4 m\) |
| دیوار پیرامونی | \(300 kg/m^2\) |
| وزن | \(500 kg/m^2\) |
دیوارهای شمالی و جنوبی ۲۰٪ بازشو دارند.







سطح بارگیری ستون
نصف چشمههای مجاور


مثال
بار مرده ستونهای ساختمان 4 طبقه زیر را محاسبه کنید
| واحد | وزن | |
|---|---|---|
| \(kg\)/\(m^2\) | 500 | وزن طبقات |
| \(kg\)/\(m^2\) | 400 | وزن بام |
| \(kg\)/\(m^2\) | 280 | وزن دیوار پیرامونی |
| \(m\) | 3 | ارتفاع دیوار طبقات |
| \(m\) | 0.8 | ارتفاع جانپناه |
| \(cm\) | 40*40 | مقطع ستون ط 1 و 2 |
| \(cm\) | 35*35 | مقطع ستون ط 3 و 4 |


توزیع بار راهپله
| بار زنده | بار مرده |
|---|---|
![]() |
![]() |
بار مرده راهپله

بار راهپله دورامپه (روش متمرکز معادل)
![]() |
![]() |
|---|---|
بار راهپله دورامپه (روش دال)
![]() |
![]() |
![]() |
|---|---|---|
بار مرده تیغه

| \(kg\)/\(m^2\) تیغه | وزن |
|---|---|
| سنگین | بیش از 200 |
| نیمهسنگین | 100الی 200 |
| نیمهسبک | 40 الی 100 |
| سبک | کمتر از 100 |
مثال
بار مرده تیغههای زیر را محاسبه کنید.
| آیتم | مقدار |
|---|---|
| ارتفاع | \(3 m\) |
| وزن | $ 300kg/m^2$ |

پیدا کردن تیرهای اصلی A, B, C, D جهت تیرریزی.

مثال
کف زیر را بارگذاری کنید.
| آیتم | مقدار |
|---|---|
| ارتفاع طبقه | \(3.2 m\) |
| وزن تیغه | \(350 kg/m^2\) |
| وزن کف | \(600 kg/m^2\) |
























